Wstęp
Pisuary, należą do jednych z bardziej skomplikowanych przyborów sanitarnych pod względem montażu. Wynika to z odmienności ich konstrukcji i różnorodności systemów spłukiwania. Niemal nie ma na rynku dwóch identycznych modeli pisuarów, każda firma stara się produkować własna linię o odmiennych kształtach, tym samym innym usytuowaniu odpływu czy śrub montażowych. Monter nie może więc stosować tu standardów montażowych, każda instalacja musi być trasowana indywidualnie, pod konkretny model i zastosowanie (osoby dorosłe, młodzież, dzieci).
Przepisy ogólne
Według wytycznych COBRTI Instal wysokość montażu pisuaru dla osoby dorosłej wynosi 65cm licząc od podłogi do „dziobu” pisuaru. Nie podaje niestety wysokości dla innych użytkowników, w tym młodzieży szkolnej i dzieci. W tym wypadku większość projektantów posiłkuje sie normami niemieckimi lub wytycznymi producentów np. KOŁO, BIMS Plus, HANSA. Według tej ostatniej firmy wysokość montażu uzależniona jest od wieku i wzrostu użytkownika i wynosi (tabela).


gdzie: A – wysokość odpływu z pisuaru, H – wysokość „dziobu” pisuaru, WM – wysokość podejścia wodociągowego
Wysokości z tabeli zgadzają się ogólnie ze stosowanymi w naszym kraju. Firma KOŁO zaleca np. w ogóle rezygnować z montażu pisuarów dla dzieci <6 roku życia preferując w tym wypadku muszle ustępowe. Dla
starszych dzieci od 7-11 lat zaleca 50cm, 12-15 lat 57cm. Poniżej podaję też zalecane przez firmę wielkości przestrzeni montażowej. Zgodnie DIN 18030 E, w obiektach ogólnodostępnych (dla osób w różnym wieku) należy przewidzieć co najmniej 1 pisuar o wysokości montażowej 48 cm.
Rys. Przestrzeń montażowa dla przyborów sanitarnych (rys. KOŁO)

*przy kabinie z wejściem od narożnika **górna krawędź ceramiki przy konfiguracji wiszącej ***przy ścianach po obu stronach. Źródło: Sanitärräume – Kindergärten, Schulen, Richtlinie VDI 6000 Blatt 6, 2006
Odległość pisuaru minimalna od osi przyboru do ściany bocznej wynosi 40cm, a jeśli jest ona z obu stron pisuaru – 45cm. Pisuary rozdzielone są zwykle przesłonami których wymiary wynoszą (dane według BIMS Plus):
-górna krawędź 130 cm ponad poziomem gotowej posadzki

1. Podejście wymaga syfonu natynkowego z manszetą (przejście z króćca pisuaru na średnicę 40mm). Syfony tego typu mogą być butelkowe, proste S-owe. Pierwszy typ wymaga wykonania podejścia idealnie w osi pisuaru, chociaż można juz dostać konstrukcje z mimośrodem (rys.), syfony S-owe można dystansować w lewą lub prawą stronę od osi pisuaru zwykle od 0-80mm.


Fot. Syfony pisuarowe butelkowe


Rys. Syfon pisuarowy butelkowy z mimośrodem 31,5mm


Rys. Syfon S-owy do pisuaru.


Przy pisuarach bezotworowych całe podejście jest niewidoczne, skryte za pisuarem. Odpływ poziomy pisuaru łączy w tym wypadku identyczny syfon ale z rurą odpływową poziomą, skierowaną w ścianę. Poniżej przykład syfonu firmy VIEGA. Warto zwrócić uwagę, że syfony powyższe są powszechnie stosowane przy montażu pisuarów na stelażach do zabudowy suchej i mokrej. Stelaże nie mają w swojej budowie zamknięć wodnych, pełnia tylko rolę uchwytu dla podejścia kanalizacyjnego. Syfon musi być więc skryty za muszlą pisuarową.


4. Rozwiązanie to podobnie jak 2, nie ma w obecnym czasie praktycznego zastosowania i należy go unikać. Chowanie syfonu w ścianie utrudnia jego późniejszy demontaż i czyszczenie.
Wysokość montażu odpływu
Zależy od typu pisuaru i od rodzaju syfonu. Pomimo bardzo dużych rozbieżności można tutaj wskazać pewien przedział wartości nazwijmy to „nieprzekraczalny”. Na początek dwa przykłady montażu z syfonem skierowanym w ścianę i skierowanym pionowo (pisuar z otworem w ceramice). Oba rozwiązania dotyczą tego samego pisuaru firmy Villeroy&Bosch o nazwie handlowej Novo.
Zwracam uwagę, że na górnym rysunku wysokość odpływu 395mm jest podana dla tego konkretnego pisuaru. Dla innego modelu nawet tej samej firmy wartość ta może być zupełnie inna. Obok pisuar podłączony przez syfon pionowy i zakres wysokości montażu podejścia od 210-290mm. Tutaj z prawdopodobieństwem 90% można założyć że instalując podejście na wysokości 250mm zamocujemy także pisuar innej firmy (oczywiście – jeśli posiada możliwość montażu takiego syfonu). Poniżej na dole po lewej, mamy pisuar firmy Duravit i wysokość odpływu dla wysokości montażu 700mm, wynosi 470mm, czyli dla standardu 650mm wyniesie odpowiednio 420mm. Jest to 25mm więcej niż w poprzednim przykładzie. Na dole po prawej kolejny przykład tym razem pisuar San Remo firmy Ideal Standard i kolejna wartość 365mm.


Wszystkie wymienione typy pisuarów są pewnie dla wielu monterów mało znane dlatego teraz coś z rodzimego rynku pisuar felix firmy KOŁO. Jak widać wysokość wyniosła tym razem 390mm.
Rys. Pisuar felix z odpływem poziomym.
Już ten krótki przegląd pokazuje, że nie da sie precyzyjnie określić wysokości usytuowania podejścia na ścianie bez wymiarów montażowych danego modelu pisuaru. Tylko modele tzw. uniwersalne z odpływem poziomym/pionowym można w pewnym zakresie dopasować do istniejącej sytuacji ale tylko przy syfonie pionowo skierowanym skracając jego odcinek pionowy.
Systemy spłukiwania
Zawory pneumatyczne
Zaliczane są do armatury czasowej, działają przez określony czas ustawiany przez serwisanta, po czym zawór zamyka się samoczynnie. Czas otwarcia zaworu decyduje o ilości spłukiwanej wody, dlatego ustawienie odpowiednio długiego czasu skutkuje mniej lub bardziej skutecznym przepłukaniem miski pisuarowej. Czas dobiera sie indywidualnie dla każdej instalacji w zależności od panującego w niej ciśnienia wody. Im wyższe ciśnienie tym krótszy czas otwarcia tak, aby ilość spłukiwanej wody wynosiła średnio 3 litry. Wymagana minimalna ilość wody zależy z kolei od konstrukcji miski pisuarowej. Większość producentów wymaga tutaj 3 litrów, ale są już pisuary z 2 litrowym a nawet 1 litrowym spłukiwaniem.
Zawór pneumatyczny posiada w swojej konstrukcji zamknięcie membranowe. Membrana otwierana jest pod wpływem sprężonego powietrza, co wymaga przyciśnięcia zaworu. Sprężone pod membraną powietrze jest następnie powoli usuwane przez specjalną kalibrowaną dyszę. Po spadku ciśnienia membrana opada i zawór się zamyka. Membrana może być regulowana w sposób płynny (za pomocą śrubki regulacyjnej) lub jednorazowo, przez założenie w zaworze przez serwisanta odpowiedniego rozmiaru dyszy. Poniżej kilka konstrukcji.


Rys. zawór spłukujący pisuarowy Valvex seria Urivex.
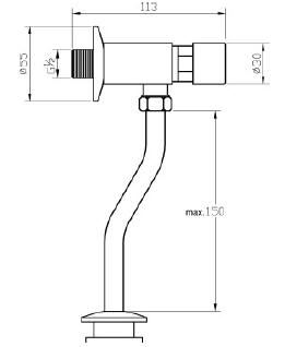
Na początek coś taniego i ogólnie dostępnego w sklepach hydraulicznych, zawór Urivex firmy Valvex. zawór nie ma możliwości regulacji, dlatego zaleca się go montować w instalacjach o ciśnieniu 0,1-0,4MPa, ciśnienie maksymalne 1MPa. Zasada montażu jest tutaj banalna, część górną należy podwiną i wkręcić w przyłącze ścienne ręką. Następnie mierzymy odległość od korpusu do pisuaru i ucinamy rurkę pionową tak aby była dłuższa co najmniej o 2cm. Wsuwamy rurkę w uszczelkę dopływu w pisuarze na nieco większą głębokość i dosuwając do korpusu dokręcamy nakrętkę. Uszczelka na pisuarze zasłaniana jest mosiężną rozetką.
Zawór spłukujący Schellomat Basic
To już wysokiej jakości konstrukcja o atrakcyjnym wyglądzie. Zawór posiada możliwość regulacji ilości spłukiwanej wody w zakresie od 1-6 litrów, poprzez zmianę ustawienia dyszy. Ciśnienie robocze powinno się mieścić w zakresie od 0,8-5 bar.

Rys. Zawór pneumatyczny Schellomat Basic
Zawór posiada w swojej konstrukcji zawór odcinający kulowy w postaci widocznego wkrętu na elemencie poziomym (zobacz poniżej). Rozwiązanie takie umożliwia bezproblemowy serwis zaworu bez konieczności zamykania wody w instalacji.
Montaż
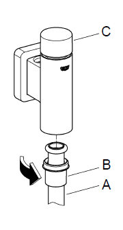
Podobnie jak w poprzednim wypadku po przepłukaniu instalacji podwijamy gwint korpusu i wkręcamy (ręką) zawór w ścianę. następnie mierzymy odległość między korpusem a pisuarem i ucinamy rurkę pionową tak aby jej długość „X” była większa o 20mm. na czas serwisu odcinamy wodę przekręcając śrubę na korpusie równolegle do ściany. Sewis wewnętrzny zaworu wymaga w pierwszej kolejności zdjęcia przycisku. Odkręcamy go kluczem imbusowym nr 2, uważając aby nie zgubić sprężyny powrotnej. Regulacja czasu odbywa się wkrętakiem przez jego obrót w lewo lub prawo. Położenia skrajne zapewniają minimalny lub maksymalny przepływ.


Po odkręceniu nakrętki kontrującej możemy wyciągnąć wewnętrzny element zaworu i przepłukać go pod bieżąca wodą.
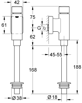
Zawór ciśnieniowy GROHE Rondo
To górna półka wśród tego typu konstrukcji o pięknej linii. zawór przeznaczony jest do pracy w instalacjach wody zimnej o ciśnieniu od 0,5-5 bar. Posiada możliwość regulacji wielkości spłukiwania w zakresie od 1-4 litrów wody. Przy zakupie w sieci należy zwrócić uwagę na jego różne odmiany. Zawory do pisuarów mają średnicę dopływową 1/2″ dla muszli ustępowych 3/4″. W UE zawory zawór powyższy może mieć też różne długości rurek. Np. w Belgii rura pionowa ma 300mm długości z uwagi na inne przepisy

Montaż
W odróżnieniu do poprzednich konstrukcji firma wymaga aby rura pionowa była dłuższa o 30mm od długości X.


Serwis zaworu




Zawór pneumatyczny podtynkowy
Dotychczasowe konstrukcje zaworów miały zastosowanie dla pisuarów montowanych bezpośrednio na ścianie murowanej. lub na stelażach bez puszki przyłączeniowej. W takich rozwiązaniach cała armatura musi być zamocowana nad tynkiem. Przy stelażach z puszką korpus zaworu może być skryty w ścianie, na zewnątrz pozostaje tylko tzw. płytka, lub przycisk sterujący. Sprężanie powietrza odbywa się wtedy pośrednio, poprzez wężyk zamocowany między przyciskiem a korpusem zaworu. Poniżej przykładowe rozwiązanie stosowane w firmie GEBERIT.
Firma posiada w swojej ofercie kilka rozwiązań o oznaczeniu handlowym 01, 10, 30, 50 czy Mambo różniące sie wykonaniem płytki czy funkcjonalnością. Przycisk mambo ma wykonanie ze stali nierdzewnej, pozostałe z tworzy sztucznych. Model 30 ma możliwość redukcji ilości spłukiwanej wody do 0,5 litra. Przy wykonaniu standardowym parametry pracy są zgodne z tabelą:
Typ 30


We wszystkich modelach przycisków firmy Geberit ustawianie czasu wypływu wody odbywa się jednorazowo za pomocą trzech wymiennych dysz. każda z nich jest inaczej skalibrowana i powoduje wolniejsze lub szybsze rozprężanie powietrza.
Montaż
Montaż zaworu rozpoczyna się tradycyjnie od usunięcia puszki dystansowej i zasylikonowania szczeliny między puszką a ścianą.



Kolejna ważną czynnością jest wstępne przepłukanie pisuaru, aby pozbyć sie ewentualnych zanieczyszczeń w instalacji. Czas przepłukania powinien wynosić około 30 s. Po przepłukaniu zakręcamy zawór odcinający i demontujemy rurkę pionową. Kolejne czynności pokazują rysunki.


Teraz najważniejsza z punktu użytkownika czynność, ustawienie ilości spłukiwanej wody. Do korpusu zaworu dostarczone są trzy dysze o różnej długości. najkrótsza dysza daje jednocześnie najkrótszy czas spłukiwania, tym samym najmniejsze zużycie wody. Jeśli wybierzemy tę dyszę spłukiwanie będzie trwało około 4 sekundy i wyniesie 1 litr. pozostałe dysze i czasy spłukiwania pokazuje rysunek. Zadaniem montera jest założenie na wężyk odpowiedniej dyszy i umieszczenie jej w korpusie zaworu pneumatycznego. Drugi koniec wężyka będzie podłączony do płytki spustowej. Jeśli ilość spłukiwanej wody nie będzie dla nas satysfakcjonującą, zawsze możemy wymienić dyszę. Czynności na kolejnych rysunkach.


Po zamocowaniu korpusu i przekręceniu blokady (rys.11) przystępujemy do montażu płytki spustowej. W pierwszej kolejności montujemy jest podstawę, do której będzie zamocowany wężyk. Podstawa wymaga zamontowania w puszce przyłączeniowej czterech kołków tworzywowych. Mocujemy je przez zakliknięcie uprzednio skracając na odpowiednią długość. Kołki posłużą nam za punkty montażowe czterech wkrętów.


Na rys. 16 pokazano możliwość dodatkowego dławienia przepływu. Dokręcenie śruby powoduje zmniejszenie przepływu (nawet poniżej 1 litra), odkręcenie – zwiększenie przepływu. Ostatnią czynnością jest założenie płytki spustowej i jej blokada kluczem imbusowym.

