Wiadomości wstępne
Montaż zostanie omówiony na podstawie instrukcji pompy Logatherm WPT270 firmy BUDERUS. Pompy monoblokowe w odróżnieniu do pomp typu split składają się tylko z jednego modułu, wewnątrz którego zamontowane są wszystkie komponenty, czyli sprężarka, parownik, wymienniki ciepła dolnego i górnego źródła oraz zasobnik ciepłej wody. W obudowie takiego modułu znajdują się też dwa wyjścia przewodów powietrza dopływowego i wylotowego.
Miejsce montażu
Pomp monoblokowych nie można instalować w następujących miejscach:
– na zewnątrz
– w miejscach zagrożonych korozją
– w miejscach o temperaturze poniżej 5 stopni °C
– w miejscach zagrożonych wybuchem.
Powietrze zasysane musi być wolne od zanieczyszczeń. W powietrzu nie mogą być zawarte następujące substancje:
• substancje agresywne chemicznie (amoniak, siarka, halogeny, chlor, rozpuszczalniki)
• substancje zawierające smary i substancje wybuchowe
• stężony aerozol
Zasys powietrza nie może być podłączony do wentylatora.

Rys. Przekrój przez pompę Logatherm. Ozn. 1 Dopływ wody zimnej – G1¼ „; 2 Wypływ z wężownicy grzejnej- G1″1)
3 Dopływ do wężownicy grzejnej- G1″1); 4 Tuleja zanurzeniowa czujnika temperatury regulatora (parametry dla modułu obsługowego instalacji solarnej lub ogrzewczej); 5 Dopływ wody z cyrkulacji – G3/4″; 6 Wypływ ciepłej wody G1″
7 Wężownica grzejna; 8 Izolacja termiczna; 9 Dopływ wody zimnej do skraplacza; 10 Wypływ wody zimnej ze skraplacza; 11 Wentylator powietrzny; 12 Parownik; 13 Skraplacz (wymiennik ciepła gaz/woda); 14 Sprężarka
15 Tuleja zanurzeniowa dla czujnika temperatury c.w.u.; 16 Anoda magnezowa; 17 Grzałka elektryczna
18 Przełącznik zał/wył; 19 Nóżki poziomujące (3x); 20 Otwór wylotowy powietrza; 21 Otwór zasysu powietrza
22 Wypływ kondensatu; 23 Pompa cyrkulacyjna; 24 Obudowa przednia; 25 Pierścień obudowy; 26 Pokrywa obudowy
27 Zamocowanie pokrywy obudowy
Schematy instalacji
1. Pompa ciepła do przygotowania c.w.u. ze zintegrowaną grzałką elektryczną
Pompa ciepła do przygotowania ciepłej wody użytkowej wykorzystuje ciepło z powietrza, jeśli temperatura
zasysanego powietrza mieści się w zakresie od 5 °C do 35 °C. Przy innych temperaturach powietrza, pompa ciepła
wyłącza się automatycznie, a podgrzewanie c.w.u. przejmuje zintegrowana grzałka elektryczna.
Opis rysunku po lewej: 1 Dopływ wody zimnej, 2 Zawór odcinający, 3 Zawór zwrotny klapowy, 4 Zawór bezpieczeństwa, 5 Naczynie wzbiorcze przeponowe, 6 Zestaw spustowy, 7 Pompa ciepła, 8 Zawór czerpalny ciepłej wody, 9 Syfon lejkowy, 10 Zawór mieszający, 11 Zintegrowana grzałka elektryczna, 12 Przyłącza wężownicy grzejnej (zaślepić)
2. Pompa ciepła do przygotowania c.w.u. ze zintegrowaną grzałką elektryczną i dodatkowym źródłem ciepła
Wersja z dodatkowo podłączonym źródłem ciepła (np. kocioł gazowy), umożliwia szybsze osiągnięcie temperatury
ciepłej wody w zasobniku, np. podczas zwiększonego zapotrzebowania na c.w.u., przy niskich temperaturach
powietrza, lub w sytuacji awarii pompy ciepła, Sterowanie dodatkowego źródła ciepła jest niezależne od
sterowania pompy ciepła.

Rys. 1. Dodatkowe źródło ciepła, 2. Pompa cyrkulacyjna. Pozostałe ozn. jw.
3. Pompa ciepła do przygotowania c.w.u. z instalacją solarną i zintegrowaną grzałką elektryczną
Wersja z instalacją solarną umożliwia wykorzystywanie „darmowej” energii słonecznej do przygotowania ciepłej
wody użytkowej. Instalacja solarna pracuje równolegle z pompą ciepła i jest sterowana niezależnie od pompy za
pomocą solarnej jednostki sterującej. Ponieważ energia słoneczna (jak i pompa ciepła) zależna jest od warunków
pogodowych, zintegrowana w pompie ciepła grzałka elektryczna może służyć jako rezerwowe źródło ciepła

Rys. Pompa ciepła zintegrowana z kolektorami słonecznymi. Ozn. 1 Kolektory słoneczne, 2 Solarny moduł obsługowy,
3 Dopływ wody zimnej, 4 Zawór odcinający, 5 Zawór zwrotny klapowy, 6 Zawór bezpieczeństwa, 7 Naczynie wzbiorcze
8 Zestaw spustowy, 9 Pompa ciepła, 10 Zawór czerpalny ciepłej wody, 11 Syfon lejkowy, 12 Stacja solarna,
13 Zbiornik zrzutowy dla wypływu zaworu bezpieczeństwa, 14 Zawór mieszający, 15 Zintegrowana grzałka elektryczna
Transport na miejsce montażu
Transport pomp ciepła obarczony jest wysokim ryzykiem uszkodzenia. Wielu producentów zastrzega w instrukcjach, aby
pompy transportować w pozycji pionowej, używać do tego celu odpowiednich urządzeń transportowych, pasów, wózków transportowych, unikać przechyleń. Taka informacja nic nie mówi użytkownikowi, bo nie ma na nią wpływu. Wszystko jest kwestią solidności i odpowiedzialności monterów. Nikt przecież nie mierzy kąta pochylenia urządzenia przy jego przemieszczaniu po pochylniach, czy schodach. Ocena, czy pompa ciepła uległa uszkodzeniu, bo w samochodzie dostawczym leżała zamiast stać, jest trudna i zwykle możemy się o tym przekonać dopiero przy pierwszym uruchomieniu. W firmie Buderus jest jednak wyjątek. Na oryginalnym opakowaniu pompy ciepła znajduje się specjalna naklejka informująca o dopuszczalnym nachyleniu. Przy prawidłowym transporcie naklejka ma strzałkę białą. Jeśli w czasie transportu przekroczono dopuszczalne nachylenie, strzałka zabarwia się na niebiesko. Taka informacja oznacza, że pompy nie wolno montować i należy ją zwrócić w oryginalnym opakowaniu do producenta.
Instalacja
Pompy ciepła typu powietrze-woda, aby mogły prawidłowo pracować, tzn. zapewnić nominalną moc cieplną, muszą być zamontowane zgodnie z wytycznymi producenta. Pierwszym wymogiem do spełnienia jest tutaj wypoziomowanie urządzenia. Pompy monoblokowe, posiadają trzy nóżki, które pozwalają na precyzyjne wypoziomowanie pompy względem podłoża. Niektórzy producenci dopuszczają minimalne nachylenie korpusu, aby ułatwić odprowadzenie kondensatu. Nachylenie musi być wtedy wykonane w odpo

wiednim kierunku wskazanym w instrukcji montażu.
Pompy monoblokowe są ciężkie, z wypełnionym wodą zasobnikiem ważą ponad 300kg. Podłoże musi więc spełniać wymagania wytrzymałościowe. Wysokość pomieszczenia i jego wymiary mogą zależeć od tego, skąd pompa czerpie powietrze. Powietrze może być czerpane:
– z pomieszczenia w którym zamocowana jest pompa ciepła
– z sąsiedniego pomieszcz
enia
– z zewnątrz
Jeśli powietrze czerpane jest bezpośrednio z pomieszczenia, jego wymiary muszą uwzględniać moc pompy ciepła. Tutaj minimum 20m3
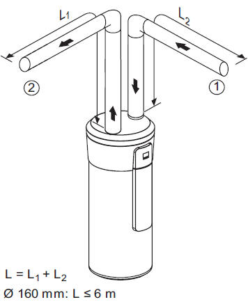
Kolejnym wymogiem są minimalne straty przy przepływie powietrza. Straty te powodowane są oporami miejscowymi (kolanka, łuki) i liniowymi (długość rury ssącej i wyrzutowej). W pompie Logatherm dopuszczalna długość obu rur nie powinna przekraczać 6m, a ilość kolan 2. Każde następne kolanko 90°, wymaga skrócenia przewodów łącznie o 1m.
Aby zapewnić odpływ kondensatu z przewodów powietrza, należy układać je z lekkim spadkiem w kierunku urządzenia. Odpływ kondensatu powinien być podłączony z kanalizacją w budynku, ale za pośrednictwem syfonu lejkowego

Rys.Po prawej. Odprowadzenie kondensatu. 1-odpływ kondensatu, 2-syfon lejkowy.
Uruchamianie
Przed pierwszym włączeniem pompa ciepła musi być wypełniona wodą i odpowietrzona. Opisywana powyżej pompa posiada funkcję automatycznego odpowietrzania. Napełnianie zbiornika wodą odbywa się przy odkręconej w instalacji c.w.u. baterii czerpalnej. Napełnianie kończy sie w momencie wypływu wody z baterii. Woda powinna spełniać wymagania pod względem czystości, twardości i odczynu pH. Te ostatnie wymagania są często pomijane w instrukcjach, ale lepiej się upewnić w serwisie. Nadmierna twardość wody wymaga użycia w instalacji lokalnego zmiękczacza. Dla pompy Logahterm twardość wody powinna się mieścić w granicach 3-11,2 °dH, a pH 6,5-9,5.